Патенты: Sony планирует запатентовать мультиклавиатурный дизайн

MForum.ru

Патенты: Sony планирует запатентовать мультиклавиатурный дизайн

28.04.2012, MForum.ru

Громкий анонс первого сертифицированного PlayStation смартфона Sony Ericsson Xperia Play не принес популярности этому девайсу: Xperia Play так и остался просто интересным смартфоном – не более. Возможно, сегодня у Sony появились идеи, как улучшить аппарат?


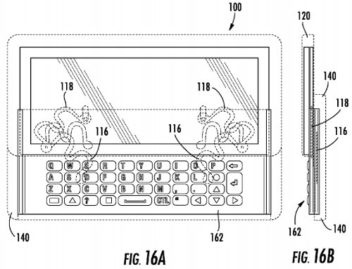
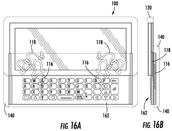
В октябре 2010 года, за несколько месяцев до анонса Xperia Play, компания подала патентную заявку на сенсорный смартфон с двумя выдвигающимися клавиатурами. Одна из них представляла собой клавиатуру QWERTY, другая – геймпад. По мнению Sony, такая конструкция может понравится пользователям, которые «предпочитают традиционные физические кнопки для работы с текстами или управления играми».

Единственное, что пока трудно представить, это какая толщина будет у девайса, снабженного двумя выдвигающимися клавиатурами. Кроме того, многие считают, что в будущем физические клавиатуры QWERTY будут просто не нужны – благодаря большим сенсорным экранам с удобными виртуальными клавиатурами. Тем не менее не исключено, что в будущем Sony может попытаться реализовать нечто подобное в новом PlayStation phone.

© Варвара Бутковская, MForum.ru , по материалам unwiredview.com


Публикации по теме:

17.03. iQOO Z11x 5G – батарея 7200 мАч и мощный чип за 205 долларов

06.03. Nothing Headphone (a) обеспечат до 135 часов работы

04.03. Рикор представил два смартфона для российского потребительского рынка

03.03. Samsung готовит 200-мегапиксельный сенсор ISOCELL HPA с размером 1/1.12 дюйма и технологией LOFIC

02.03. В Японии привлекли очередные миллиарды в проект Rapidus

25.02. iQOO 15R — первый «R» в линейке с компактным корпусом, Snapdragon 8 Gen 5 и батареей 7600 мАч

24.02. Motorola Edge 70 Fusion подтверждён на Flipkart — мировой дебют Sony LYT-710, 144 Гц и батарея 7000 мАч

20.02. Vivo V70 Elite — флагманский чип Snapdragon 8s Gen 3, телефото-камера и 6500 мАч в премиальном среднеценовом сегменте

20.02. Vivo V70 — плоский дисплей, алюминиевая рамка, батарея 6500 мАч и ультразвуковой сканер

18.02. Tecno Camon 50 и 50 Pro представлены официально – экран 144 Гц, 3-кратный зум, батарея 6150 мАч и защитой IP69K

10.02. Vivo X Fold 6 может получить 200 Мп камеру и мультиспектральный сенсор, чтобы стать главным фото-раскладушкой

05.02. iQOO 15 Ultra — первый смартфон бренда с активным охлаждением и статусом «Ultra»

05.02. Vivo X300 Ultra получит две камеры на 200 Мп и батарею 7000 мАч

30.01. Motorola представила Moto G17 и G17 Power

29.01. Motorola G77 и G67 обновляют канон доступных «рабочих лошадок»

28.01. В Индии представлен Vivo X200T с тройной камерой Zeiss, чипом 3 нм и ценой €550

26.01. 200 Мп сенсоры в 2026: от массового хита до эксклюзивного флагмана

23.01. Представлен Realme Neo8 с батареей 8000 мАч, 3.5x перископом и ценой от $370

21.01. Motorola готовит Edge 70 Fusion с батареей на 7000 мАч и экраном яркостью 5200 нит

19.01.  Galaxy S27 Ultra готовится стать главным прорывом Samsung за пять лет

Обсуждение (открыть в отдельном окне)

В форуме нет сообщений.

Новое сообщение:
Complete in 2 ms, lookup=0 ms, find=2 ms

Последние сообщения в форумах

Все форумы »



Поиск по сайту:


Колонка редактора

08.05. Китай одобрил выделение спектра в диапазоне 6 ГГц для испытаний 6G

08.05. Кремниевые осцилляторы вместо кубитов - корейский путь к сверхбыстрым вычислениям

08.05. Канадский центр фотонного производства "приватизируют"

08.05. Intel передала студентам Вьетнама оборудование для сборки и тестирования микросхем

08.05. Huawei расширяет «офлайн-звонки»

08.05. Билайн в Тюменской области - покрытие 4G и домашний интернет расширены в восьми жилых комплексах

08.05. МегаФон в Оренбургской области - мобильный интернет ускорен в Бугуруслане

07.05. SpaceX представила планы строительства Terafab в Техасе с оценкой стоимости в $55 млрд

07.05. OpenAI завершила формирование совместного предприятия DeployCo с группой фондов прямых инвестиций

07.05. МТС запустил переводы для физлиц на кошельки WeChat Pay без комиссии

07.05. Билайн в Удмуртской республике - покрытие 4G обеспечено indoor-оборудованием в 4 ТЦ Ижевска

07.05. Росэл сообщает о начале серийного производства новой модификации отечественных светочувствительных КМОП-матриц с разрешением 4К

07.05. "Минцифры сообщает об отсутствии планов по отключению и ограничению мобильного интернета в Москве 7-8 мая"

07.05. МТС в Якутии - сеть LTE усилена в районе строительства Ленского моста

06.05. Индия дозрела до собственной низкоорбитальной группировки

Все статьи >>


Новости

08.05. OnePlus Nord CE6 Lite с 7000 мАч, 144 Гц LCD и Dimensity 7400 Apex представлен официально

08.05. OnePlus Nord CE6 с АКБ 8000 мАч, AMOLED-экраном 144 Гц и Snapdragon 7s Gen 4 представлен официально

07.05. Honor Play 11 Plus – 7000 мАч, 120 Гц AMOLED и Dimensity 6500 Elite за $320

07.05. Honor Play 70C – Helio G81 Ultra, 5300 мАч и Android 15 за $90

06.05. Honor Play 80 Plus – 7500 мАч, Snapdragon 4 Gen 4 и AI-кнопка за $249

06.05. Samsung Galaxy S27 Ultra получит переменную диафрагму в основной камере?

06.05. Samsung Galaxy A27 – круглый вырез камеры, Snapdragon 6 Gen 3 и 12 МП фронталка

05.05. Xiaomi Smart Band 10 Pro – 1.74" AMOLED, алюминиевый корпус и 21 день работы

05.05. iQOO 15T – 200 МП камера, 8000 мАч, 100 Вт и Dimensity 9500

05.05. Lenovo Legion Y70 (2026) – 2K-экран, 8000 мАч и SD 8 Gen 5

04.05. 7 мая представят Huawei Nova 15 Max – 8500 мАч, 50 МП RYYB и AMOLED

04.05. Moto G47 – 108 МП камера, FHD+ 120 Гц, Dimensity 6300 и защита MIL-STD-810H

04.05. iPhone Pro (2027) –изогнутый с 4-х сторон экран и подэкранная камера?

30.04. Tecno Spark 50 Pro 5G – Helio G100 Ultimate, 60 Вт и дизайн от Pova Curve 2

30.04. Официальные рендеры Moto G87 раскрывают 200 МП камеру, OLED-экран и дизайн как у G86

29.04. Poco C81 Pro – 6.9" 120 Гц, 6000 мАч и Unisoc T7250 за $99

29.04. Vivo TWS 5i – 50 часов работы, DeepX 3.0 и Bluetooth 5.4 за 17 долларов

29.04. Vivo Y600 Pro получил АКБ 10 200 мАч с зарядкой 90 Вт и IP69 при толщине 8.25 мм

29.04. Vivo Y600 Pro получил АКБ 10 200 мАч с зарядкой 90 Вт и IP69 при толщине 8.25 мм

28.04. Huawei Mate XT 2 – тройной складной смартфон с Kirin 9050 Pro и батареей 6000+ мАч